
★★
潍坊百恩特机电有限公司提醒注意:
因设备重量重, 般默认发物流。即日起,运费 律由买方支付,本设备不是轻来轻去的东西,已经发出概不退换。发货前,我们也会进行适当的包装(如:缠草绳等),鉴于快递的服务质量,不敢保证到货时设备上还有草绳,因为我们不能左右快运或者物流,这个亲们应该都知道,也应该理解。不同型号的重量就不同,所以不要问运费为什么贵,我们不赚买家的运费,都是实时的费用,购买前请联系客服修改价格。拍前请核实好设备的型号或者参数,不明白的询问在线客服13188856756 0536-3631273 官网:http://www.wfbsdz.com
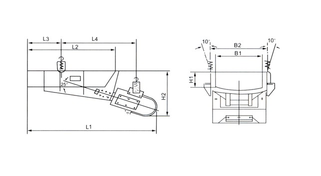
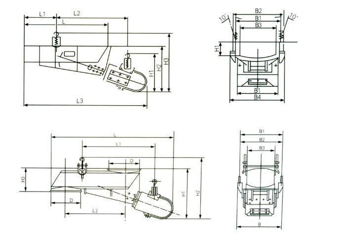
GZ系列电磁振动给料机和以振动电机为振动源的振动给料机 样广泛应用于矿山、冶金、煤炭、建材、轻工、化工、电力、机械、粮食等各行各业中,用于把块状、颗粒状及粉状物料从贮料仓或漏斗中均匀连续或定量地给到受料装置中去。例如:向带式输送机、斗式提升机,振动筛分设备等给料;向破碎机、粉碎机等喂料,以及用于自动配料,定量包装等,并可用于自动控制的流程中,实现生产流程的自动化。
GZ系列电磁振动给料机是 种新型的给料设备,它和其它给料设备相比具有以下特点:
(1)体积小,重量轻,结构简单,安装方便,无转动部件不需润滑,维修方便,运行费用低。
(2)电磁振动给料机由于运用了机械振动学的共振原理,双质体在低临界共振状态下工作,因而消耗电能少。
(3)由于可以瞬时地改变和启闭物料流,所以给料量有较高的精度。
(4)本系列电磁振动给料机的控制设备采用了可控硅半波整流线路,因此在使用过程中可以通过调节可控硅开放角的办法方便地无 地调节给料量,并可以实现生产流程的集中控制和自动控制。
(5)由于给料槽中的物料在给料过程中连续地被抛起,并按抛物线的轨迹向前进行跳跃运动,因此给料槽的摩损较小。
(6)本系列电磁振动给料机不适用于具有防爆要求的场合。
(7)电气控制装置使用条件:
a、海拔高度不超过1000米。
b、周围介质温度不超过-20℃~+4℃的范围。
c、周围介质温度为25℃时相对湿度不大于85%。
d、周围没有严重腐蚀性及影响电气 缘性能的介质




